Planung und Bau eines schallisolierten Proberaumes

Dieser Artikel basiert auf meiner Diplomarbeit am Institut für Musikwissenschaft Wien 2013 bei Prof. Christoph Reuter

Sorry, this article only exists in german at the moment! Please use online or in-browser translation services to read it in other languages.

Schutz vor Körperschallübertragung

Es gibt verschiedenste Möglichkeiten, die Weiterleitung von Körperschall zu vermindern, wie zum Beispiel Material- und Querschnittswechsel, rechtwinkelige Ecken und Verzweigungen oder die Dämmung durch Sperrmassen (Möser/Kropp 2010 S.XI). Besonders wirksam und damit für unsere Zwecke hervorzuheben ist aber die Entkopplung des Körperschalls durch elastische Zwischenschichten (Möser/Kropp 2010 S.334).

Wie im Kapitel Schallwellen an Grenzflächen eingeführt und in Absorption näher erläutert, kommt es dann zu einer wirkungsvollen Reflexion an einer Grenzfläche, wenn ein möglichst großer Sprung in der Schallkennimpedanz der beiden aneinanderliegenden Schallmedien vorliegt. Baumaterialien sind für gewöhnlich schallhart (hohe Impedanz). Eine entkoppelnde Zwischenschicht muss somit möglichst schallweich sein. Wenn keine statischen Lasten abgetragen werden müssen, kann das Luft sein, wobei nicht auf die Bedämpfung des Zwischenraums vergessen werden darf (Möser/Kropp 2010, S.335).

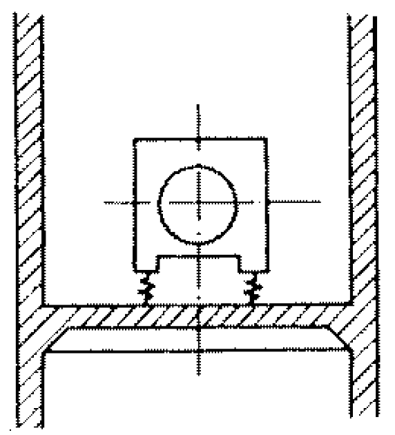
Eine vibrierende Schallquelle, die auf einer schallweichen Schicht steht, um sie vom restlichen Bauwerk zu entkoppeln, entspricht einem in der Einführung beschriebenen Feder-Masse-System (zB Abbildung 2.1.1 ). Die Resonanzfrequenz ergibt sich aufgrund der Masse des entkoppelten Körpers und der dynamischen Steifigkeit der Zwischenschicht. Zur Erinnerung: je höher die Masse und je weicher die Feder, desto tiefer die Resonanzfrequenz.

Wie schon früher erwähnt, ist eine möglichst tiefe Abstimmung anzustreben, da sich überall oberhalb etwa der doppelten Resonanzfrequenz eine Verbesserung der Schalldämmung einstellt. Für die Körperschallentkopplung von Maschinen wird geraten die Resonanzfrequenz des zur Entkopplung eingesetzten Feder-Masse-Systems auf ein Drittel der durch die Maschine zu erwartenden Anregungsfrequenz zu setzen (Brüstle, 2004).

Abbildung 4.3.1: Schema einer Masse, die auf Federn gelagerten ist um sie von der umgebenden Bausubstanz zu trennen.(Schirmer 2006, S.317)
Abbildung 4.3.1:

Schema einer Masse, die auf Federn gelagerten ist um sie von der umgebenden Bausubstanz zu trennen.

Die dynamische Steifigkeit in MN/m3 kann zum Beispiel in Fasold/Veres 2003 S.308, Tabelle 5.23 für verschiedene Materialien nachgeschlagen werden. Auch geben die Hersteller von Baustoffen, welche als solche Zwischenlagen gedacht sind, diesen Wert in den Datenblättern an.

Abbildung 4.3.2: Körperschall breitet sich in der Bausubstanz aus und wird zu Luftschalld	- direkter Wegf - Flankenweg(Fasold/Veres 2003, S.243)
Abbildung 4.3.2:

Körperschall breitet sich in der Bausubstanz aus und wird zu Luftschall

d - direkter Weg
f - Flankenweg

In der Regel wird heutzutage auch zur Trittschallentkopplung in Wohn- und Arbeitsräumen eine lastverteilende Platte auf einer solchen weichen Zwischenschicht gebaut. Diese Art von Deckenauflage nennt man „schwimmender Estrich“. Die Resonanzfrequenz eines solchen Systems ergibt sich wie die der zweischaligen Wände aus Gleichung 4.2.3.b bzw. Gleichung 4.2.3.e (Fasold/Veres 2003, S.305f).

Abbildung 4.3.3: Bewertete Trittschallminderung ΔLW von schwimmenden Estrichen in Abhängigkeit von der flächenbezogenen Masse der lastverteilenden Platte und der dynamischen Steifigkeit der Dämmschicht darunter.(Fasold/Veres 2003, S.307)
Abbildung 4.3.3:

Bewertete Trittschallminderung ΔLW von schwimmenden Estrichen in Abhängigkeit von der flächenbezogenen Masse der lastverteilenden Platte und der dynamischen Steifigkeit der Dämmschicht darunter.

Neben der tiefen Abstimmung dieses schwingungsfähigen Systems ist auch die Materialdämpfung der Estrichplatte von Bedeutung. Während Platten aus Zement oder Calciumsulfat eine Verminderung des Trittschalls von etwa 9dB je Oktave oberhalb der Resonanzfrequenz bringen, erreichen Asphalt- und Trockenestriche hier etwa 12dB je Oktave (Fasold/Veres 2003, S.306).

Do you have any announcements?
Fantastic Supporters

amcoustics for professionals

To use the free amcoustics tools for commercial projects, you must become a business-user on patreon!

Ensure quality and new features with that small fee.


Newsletter & Instagram

New tools are coming! Sign up to my newsletter and follow me on instagram to get informed early on.